验货| 汽车前照灯的检验检测标准及方法(三)
2、前照灯校正仪的结构和工作原理
按照前照灯校正仪的结构特征与测量方法不同,常用汽车前照灯校正仪可分为聚光式、屏幕式、投影式和自动追踪光轴式四种类型。这些不同类型的前照灯校正仪均由接受前照灯光束的受光器、使受光器与汽车前照灯对正的照准装置、前照灯发光强度指示装置、光轴偏斜方向和偏斜量指示装置及支柱、底板、导轨、汽车摆正找准装置等组成。
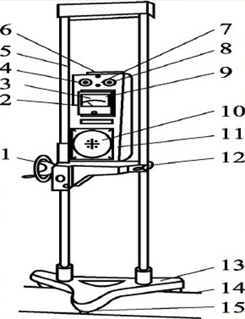
(1)聚光式前照灯检测仪

1-升降手轮;2-光度针;3-左右偏斜指示计;4-光轴刻度盘(左、右);5-支柱;6-汽车摆正找准器;7-光度、光轴变换开关;8-光轴刻度盘;9-上下偏斜指示针;10-前照灯照准器;11-聚光透镜;12-角度调整螺丝;13-底座;14-导轨;15-车轮
聚光式前照灯检测仪利用受光器的聚光透镜把前照灯的散射光束聚合起来,并导引到光电池的光照面上,根据其对光电池的照射强度,来检测前照灯的发光强度和光轴偏斜量。检测时,检测仪放在距前照灯前方1m处。
(2)屏幕式前照灯检测仪

1-底座;2、8-光轴刻度盘(左、右);3-固定屏幕;4-支柱;5-汽车摆正找准器;6-光度计;7-前照灯照准器;9-活动屏幕;10-光轴刻度尺;11-受光器;
屏幕式前照灯检测仪在固定屏幕上装有可以左右移动的活动屏幕,在活动屏幕上装有能上下移动的内部带有光电池的受光器。前照灯的光束照射到屏幕上,检测发光强度和光轴偏斜量。通常测试距离为3m。
(3)投影式前照灯检测仪
投影式前照灯检测仪采用把前照灯光束的影像映射到投影屏上,来检测发光强度和光轴偏斜量。检测时,测试距离一般为3m。其构造如图7所示。
在聚光透镜的上下和左右方向装有四个光电池。前照灯光束的影像通过聚光透镜、光度计的光电池和反射镜后,映射到投影屏上。检测时,通过上下、左右移动受光器使光轴偏斜指示计指示为零,从而找到被测前照灯主光轴的方向,然后根据投影屏上前照灯光束影像的位置,即可得出主光轴的偏斜量,同时可从光度计的指示中读取发光强度。
根据投影式前照灯检测仪光轴偏斜量的检测方法不同,有投影屏刻度检测法和光轴刻度盘检测法。
投影屏刻度检测法是在投影屏上刻有表示光轴偏斜量的刻度线,根据前照灯影像中心在投影屏上所处的位置,即可直接读出光轴的偏斜量。
光轴刻度盘检测法是转动上下与左右光轴刻度盘,使前照灯光束影像中心与投影屏坐标原点重合,然后从光轴刻度盘上读取光轴偏斜量。

图7 投影式前照灯检测仪
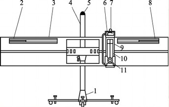
1-车轮;2-底座;3-导轨;4-光电池;5-上下移动手柄;6-上下光轴刻度盘;7-左右光轴刻度盘;8-支柱;9-左右偏斜指示计;10-上下偏斜指示计;11-投影屏;12-汽车摆正找准器;13-光度计;14-聚光透镜;15-受光器
(4)自动追踪光轴式前照灯检测仪
自动追踪光轴式前照灯检测仪采用受光器自动追踪光轴的方法检测前照灯发光强度和光轴偏斜量。一般检测距离为3m。其构造如图8所示。
检测时,前照灯的光束照射到检测仪的受光器上。此时,若前照灯光束照射方向偏斜,则主、副受光器的上下光电池或左右光电池的受光量不等,由其电流的差值控制受光器上下移动的电动机运转,或使控制箱左右移动的电动机运转,并通过传动机构牵动受光器上下移动或驱动控制箱在轨道上左右移动,直至受光器上下、左右光电池受光量相等为止。在追踪光轴时,受光器的位移方向和位移量由光轴偏斜指示计指示,此即前照灯光束的偏斜方向和偏斜量、发光强度由光度计指示。
测库_专业第三方验货公司,您身边的验货技术专家,提供电子电器、杂货玩具用品、纺织品、工业产品检验检测。













